8065L
PNEUMATIC LOCKING SYSTEM
FOR INDIVIDUAL SLIDING CELL DOORS. Maximum security.
Click Here for
Quote Request
Please Click on Captions below to display / hide information:
FUNCTIONS
ELECTRIC -
A remote switch activates pneumatic cylinders which raise a vertical lock bar
and propel the door open or closed.
MECHANICAL - Manual unlocking is provided for each device. After
being manually released, door movement is by hand. The door automatically deadlocks
when moved to the fully open or closed position.
STANDARD
FEATURES
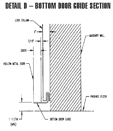
- Bottom door guide
- Door hanger
- Local Mechanical release at cover box
- Screwed on removeable cover panel
- Sloped-front cover box
- Vertical lock bar assembly
OPTIONAL
FEATURES
PILASTER RELEASE
- Hip-high paracentric keyed mechanical release mounted in a full-height pilaster
adjacent to the receiving jamb. Specify ;8065LP-1; keyed one side. Specify 8065LP-2
keyed two sides.
ELECTRIC KEYSWITCH - Paracentric or mogul keyed local electric
control switch
mounted below mechanical release mechanism in pilaster.
Specify “8065LPK-1” paracentric keyed one side.
Specify “8065LPK-2” paracentric keyed two sides.
Specify “8065LPKM-1” for mogul keyed one side.
Specify “8065LPKM-2” for mogul keyed two sides.
COVER BOX SECTION - 7-1/2” deep x 1’-0-3/4”
tall cover box
HINGED COVER PANEL - Cover panel is hinged to cover box assembly
for maintenance access. Specify “8065LHC”.
THREE HOUR FIRE DOOR RATING - Available
DIMENSIONAL
DATA 1

DIMENSIONAL
DATA 2

DIMENSIONAL
DATA 3

DIMENSIONAL
DATA 4

DIMENSIONAL
DATA 5

SPECIFICATIONS
- COVER BOX: 1' 0 - 3/4" H x 7-1/2"D
- COVER BOX MATERIAL: 7 gauge steel plate
- REMOVABLE PANEL: 10 gauge steel
- DOOR ROLLERS: 3" diameter, machined steel with sealed
bearings
- VERTICAL LOCK BAR
- DIMENSIONS: 5/8" SQ by full height of door
- FINISH: Prime paint
- DOOR HANGER: 7 gauge steel plate
- ELECTRICAL: Motor: 1/20 HP, 115 VAC, 60 Hz., single phase
power, 1.2 amps.
- WIRE REQUIREMENTS: When electric operation of the door is
from a remote station, a minimum of five conductors (minimum 14 gauge) are required
between the control point and the door, except for those models
having the letter “K” (keyswitch) in the suffix. Keyswitch models
require minimum six conductors.
|